norelem emplea cookies con vistas a una configuración óptima, así como una mejora continua de la página Web. El hecho de continuar usando esta página Web significa que está aceptando al mismo tiempo la utilización de cookies. En nuestra Declaración de protección de datos encontrará más información sobre la temática de las cookies.Aceptación
Pernos de bloqueo de acero o acero inoxidable con botón de maniobra de plástico y seguro roscado
03089

Pernos de bloqueo de acero o acero inoxidable con botón de...

Volver

Descripción del artículo/Imágenes del producto

Consultar/filtrar todos los artículos
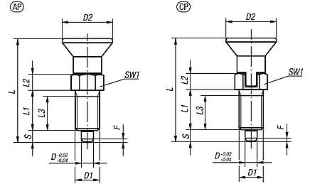
DescripciónDescripción del producto:Los pernos de bloqueo se aplican para impedir el cambio de la posición de bloqueo por fuerzas transversales. El perno solo puede colocarse en otra posición de bloqueo una vez que se haya desacoplado manualmente. Para evitar que la clavija de bloqueo rebote cuando sea necesario desacoplarla tras un periodo de tiempo prolongado, se utilizará la forma CP.
La profundidad de montaje se puede adaptar exactamente a los componentes existentes mediante el seguro roscado, por lo que no se requiere ningún tope regulable.
Material:

Versión de acero:
Casquillo roscado y clavija de bloqueo de acero de corte fácil.

Versión de acero inoxidable:
Casquillo roscado 1.4305.
Clavija de bloqueo 1.4034.

Botón de maniobra termoplástico.
Seguro roscado de poliamida.

Versión:Versión de acero:
Casquillo roscado bruñido.
Clavija de bloqueo endurecida, rectificada y bruñida.

Versión de acero inoxidable:
Casquillo roscado de acabado natural.
Clavija de bloqueo endurecida y rectificada, con acabado natural.

Botón de maniobra gris negruzco RAL7021.

Seguro roscado azul.
Indicación:El seguro roscado es un revestimiento de poliamida de sujeción que se aplica selectivamente (por puntos).A petición:Modelos especiales.Indicación sobre el dibujo:
Forma AP: sin ranura de bloqueo, sin contratuerca
Forma CP: sin ranura de bloqueo, con contratuerca
Características especiales:
RoHS
DescargarAquí figura información recopilada en formato PDF:

¿Está buscando datos CAD? Los encontrará directamente en la tabla de productos.
 Ficha de datos 03089 Pernos de bloqueo de acero o acero inoxidable con botón de maniobra de plástico y seguro roscado 205 kB

Planos (vista completa)

Pernos de bloqueo de acero o acero inoxidable con botón de maniobra de plástico y seguro roscado

Pernos de bloqueo de acero o acero inoxidable con botón de maniobra de plástico y seguro roscado

Más información

Planos

Pernos de bloqueo de acero o acero inoxidable con botón de maniobra de plástico y seguro roscado

Vista general de artículos (comprimida)

Selección/filtro de artículos
Referencia
acero
Referencia
acero inoxidable
FormaDD1D2LL1L2L3Carrera
S
SW1F x 30°Fuerza del
muelle inicial
F1 aprox. N
Fuerza del
muelle final
F2 aprox. N
Filtro
03089-9190303089-091903AP3M6x0,751431,5125103,580,84,510
03089-9100403089-091004AP4M8x11838,5156134101612
03089-9110503089-091105AP5M10x12143,5177155131,3512
03089-9120603089-091206AP6M12x1,52551,7208176141,8614
03089-9130803089-091308AP8M16x1,533682610238192,31535
03089-9141003089-091410AP10M20x1,5337428122510222,81534
03089-9141203089-091412AP12M20x1,5337828142512222,81539
03089-9151603089-091516AP16M24x2409632182816273,22046

Pernos de bloqueo de acero o acero inoxidable con botón de maniobra de plástico, seguro roscado y ranura de bloqueo

Más información

Planos

Pernos de bloqueo de acero o acero inoxidable con botón de maniobra de plástico, seguro roscado y ranura de bloqueo

Vista general de artículos (comprimida)

Selección/filtro de artículos
Referencia
acero
Referencia
acero inoxidable
FormaDD1D2LL1L2L3Carrera
S
SW1F x 30°Fuerza del
muelle inicial
F1 aprox. N
Fuerza del
muelle final
F2 aprox. N
Filtro
03089-9390303089-093903CP3M6x0,751431,5125103,580,84,510
03089-9300403089-093004CP4M8x11838,5156134101612
03089-9310503089-093105CP5M10x12143,5177155131,3512
03089-9320603089-093206CP6M12x1,52551,7208176141,8614
03089-9330803089-093308CP8M16x1,533682610238192,31535
03089-9341003089-093410CP10M20x1,5337428122510222,81534
03089-9341203089-093412CP12M20x1,5337828142512222,81539
03089-9351603089-093516CP16M24x2409632182816273,22046
Mi norelemCorreo electrónicoContraseña
Cesta de la compra
Número de artículos: 0
Total: 0.00  MXN
mostrar
Pedido rápido / Comprobar disponibilidadPedir el artículo directamente o comprobar la disponibilidad.Mostrar
México
Mapa web Imprimir Recomendar Top
Copyright © 2025 norelem S.de RL. de. C.V. Todos los derechos reservados. Teléfono: +52 444 454 36 – 50