| 
 
	
 | 
	 | 
 23831-05Rodamientos de rodillos cruzados de acero, compactos | 
 Volver |  
 
  | 
  
		
  
	
 Descripción del artículo/Imágenes del producto | 
  |  
		
 
	
  | 
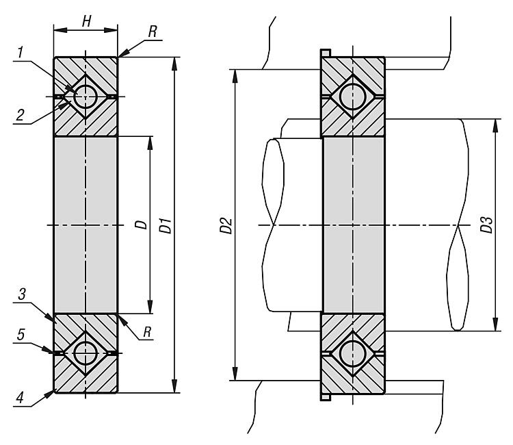
 DescripciónMaterial:Anillo interior, anillo exterior y elemento rodante de acero de apoyo de cilindros.Indicación:Los rodamientos de rodillos cruzados compactos están disponibles en dos anchos del rodamiento: 5 mm y 8 mm. Se distinguen por su construcción estable y compacta y resultan ideales para las aplicaciones con un espacio disponible restringido, así como para las construcciones ligeras.
  En el juego interno radial del rodamiento se puede elegir entre dos variantes: el rodamiento con juego normal C1 (N.º de art.: 23831-0XXXXX) y el rodamiento con tensión previa S1 (N.º de art.: 23831-1XXXXX).
  Los rodamientos de rodillos cruzados tienen una clase de tolerancia P0. La clase de tolerancia describe la desviación radial y axial del anillo interior y exterior.
  Los rodamientos de rodillos cruzados tienen una junta por los dos lados.
  A demanda del cliente se pueden suministrar otros juegos interno del rodamiento y clases de tolerancia.Datos técnicos:Véanse Descargas, Indicación técnica.Indicación sobre el dibujo:1) Rodillos 2) Distanciador 3) Anillo interior 4) Anillo exterior 5) Junta  Características especiales: DescargarAquí figura información recopilada en formato PDF:
  ¿Está buscando datos CAD? Los encontrará directamente en la tabla de productos.
	  |  
		
   
	
 Selección/filtro de artículos | 
  |  
		
 | Referencia | Versión 2 | D | D1 | H | R | D2 | D3 | Capacidades de  carga dinámicas kN | Capacidades de  carga estáticas kN | CAD | Acc. | Precio | Pedir | 
|---|
 | 23831-05-002005 | Juego normal | 20 | 31 | 5 | 0,5 | 27 | 22,5 | 1,4 | 1,29 |   |  | 4,024.37 MXN |  |  | 23831-05-003005 | Juego normal | 30 | 41 | 5 | 0,5 | 37 | 32,5 | 1,77 | 1,97 |   |  | 4,027.38 MXN |  |  | 23831-05-004005 | Juego normal | 40 | 51 | 5 | 0,5 | 47 | 42,5 | 2 | 2,52 |   |  | 4,030.39 MXN |  |  | 23831-05-005005 | Juego normal | 50 | 61 | 5 | 0,5 | 57 | 52,5 | 2,28 | 3,2 |   |  | 4,171.57 MXN |  |  | 23831-05-005008 | Juego normal | 50 | 66 | 8 | 0,5 | 62 | 52,5 | 5,1 | 7,19 |   |  | 4,196.54 MXN |  |  | 23831-05-006005 | Juego normal | 60 | 71 | 5 | 0,5 | 67 | 62,5 | 2,63 | 4,09 |   |  | 4,613.73 MXN |  |  | 23831-05-006008 | Juego normal | 60 | 76 | 8 | 0,5 | 72 | 62,5 | 5,68 | 8,68 |   |  | 4,640.82 MXN |  |  | 23831-05-007005 | Juego normal | 70 | 81 | 5 | 0,5 | 77 | 72,5 | 2,81 | 4,68 |   |  | 5,238.00 MXN |  |  | 23831-05-007008 | Juego normal | 70 | 86 | 8 | 0,5 | 82 | 72,5 | 5,98 | 9,8 |   |  | 5,267.21 MXN |  |  | 23831-05-008005 | Juego normal | 80 | 91 | 5 | 0,5 | 87 | 82,5 | 3,05 | 5,43 |   |  | 5,936.32 MXN |  |  | 23831-05-008008 | Juego normal | 80 | 96 | 8 | 0,5 | 92 | 82,5 | 6,37 | 11,3 |   |  | 5,733.45 MXN |  |  | 23831-05-009005 | Juego normal | 90 | 101 | 5 | 0,5 | 97 | 92,5 | 3,19 | 6,03 |   |  | 6,212.35 MXN |  |  | 23831-05-009008 | Juego normal | 90 | 106 | 8 | 0,5 | 102 | 92,5 | 6,67 | 12,4 |   |  | 6,245.75 MXN |  |  | 23831-05-102005 | Pretensado | 20 | 31 | 5 | 0,5 | 27 | 22,5 | 1,4 | 1,29 |   |  | 4,579.72 MXN |  |  | 23831-05-103005 | Pretensado | 30 | 41 | 5 | 0,5 | 37 | 32,5 | 1,77 | 1,97 |   |  | 4,582.73 MXN |  |  | 23831-05-104005 | Pretensado | 40 | 51 | 5 | 0,5 | 47 | 42,5 | 2 | 2,52 |   |  | 4,746.17 MXN |  |  | 23831-05-105005 | Pretensado | 50 | 61 | 5 | 0,5 | 57 | 52,5 | 2,28 | 3,2 |   |  | 5,231.98 MXN |  |  | 23831-05-105008 | Pretensado | 50 | 66 | 8 | 0,5 | 62 | 52,5 | 5,1 | 7,19 |   |  | 4,773.86 MXN |  |  | 23831-05-106005 | Pretensado | 60 | 71 | 5 | 0,5 | 67 | 62,5 | 2,63 | 4,09 |   |  | 5,234.99 MXN |  |  | 23831-05-106008 | Pretensado | 60 | 76 | 8 | 0,5 | 72 | 62,5 | 5,68 | 8,68 |   |  | 5,262.08 MXN |  |  | 23831-05-107005 | Pretensado | 70 | 81 | 5 | 0,5 | 77 | 72,5 | 2,81 | 4,68 |   |  | 5,907.43 MXN |  |  | 23831-05-107008 | Pretensado | 70 | 86 | 8 | 0,5 | 82 | 72,5 | 5,98 | 9,8 |   |  | 5,936.63 MXN |  |  | 23831-05-108005 | Pretensado | 80 | 91 | 5 | 0,5 | 87 | 82,5 | 3,05 | 5,43 |   |  | 6,628.02 MXN |  |  | 23831-05-108008 | Pretensado | 80 | 96 | 8 | 0,5 | 92 | 82,5 | 6,37 | 11,3 |   |  | 6,425.15 MXN |  |  | 23831-05-109005 | Pretensado | 90 | 101 | 5 | 0,5 | 97 | 92,5 | 3,19 | 6,03 |   |  | 7,020.23 MXN |  |  | 23831-05-109008 | Pretensado | 90 | 106 | 8 | 0,5 | 102 | 92,5 | 6,67 | 12,4 |   |  | 7,053.34 MXN |  |   
 
	
 Otros artículos de esta categoría |  
		
   | 
 
	
 | Pedido rápido / Comprobar disponibilidadPedir el artículo directamente o comprobar la disponibilidad.Mostrar |  
		
     |