norelem emplea cookies con vistas a una configuración óptima, así como una mejora continua de la página Web. El hecho de continuar usando esta página Web significa que está aceptando al mismo tiempo la utilización de cookies. En nuestra Declaración de protección de datos encontrará más información sobre la temática de las cookies.Aceptación

Descripción del artículo/Imágenes del producto

Consultar/filtrar todos los artículos
DescripciónDescripción del producto:Bisagras para elementos superficiales y perfiles de aluminio.
Los pernos de eje se pueden desmontar sin herramientas y gracias a eso, las medias bisagras se pueden separar y unir con rapidez.
Las bisagras se utilizan en las puertas, compuertas, cubiertas o bastidores.
Se pueden utilizar en interiores y exteriores.
Material:

Termoplástico reforzado con fibra de vidrio.
Pernos de eje y accesorios de acero inoxidable 1.4305.
Pernos de eje de acero.

Versión:Bisagra negra similar a RAL 9005
Pernos de eje de acero inoxidable con acabado natural.
Pernos de eje de acero galvanizado.
Accesorios de acabado natural.
Indicación:Los valores de carga indicados constituyen valores orientativos no vinculantes que no tienen en cuenta factores de seguridad y se proporcionan excluyendo cualquier tipo de responsabilidad. Estos valores se indican solo a título informativo y no representan una garantía sobre sus propiedades.

Los valores de carga se determinan con condiciones de laboratorio. Es competencia del usuario determinar individualmente si la bisagra es apta para la aplicación concreta.

Los valores determinados pueden resultar afectados por la variedad de materiales en que van fijadas las bisagras, por los tipos de fijación y por las condiciones meteorológicas, así como por el desgaste.
Ventajas:Montaje y desmontaje sin herramientasA petición:Combinación de aletas de distintas longitudes de la bisagra.Accesorios:03400 Pernos insertables con fiador abatible.
07336 Albura DIN EN ISO 1234.
03199 Ojo de llave.
Volumen de suministroDos medias bisagras.
Pernos de eje seleccionados y/o accesorios.
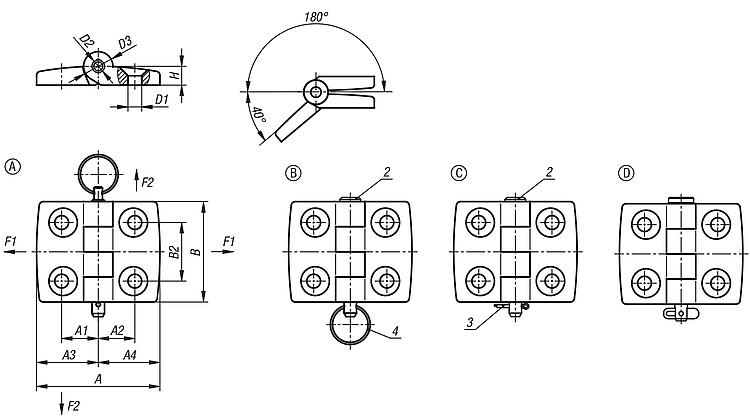
Indicación sobre el dibujo:
Forma A: con perno insertable
Forma B: con perno/ cabeza y ojo de llave
Forma C: con perno/ cabeza y albura
Forma D: con perno insertable/fiador abatible

2) Perno de eje
3) Albura
4) Ojo de llave
Características especiales:
DescargarAquí figura información recopilada en formato PDF:

¿Está buscando datos CAD? Los encontrará directamente en la tabla de productos.
 Ficha de datos 27851 Bisagras de plástico, separables, desmontables 194 kB

Planos (vista completa)

Bisagras de plástico, separables, desmontables

Bisagras de plástico, separables, desmontables, forma A, con perno insertable

Más información

Planos

Bisagras de plástico, separables, desmontables, forma A, con perno insertable

Selección/filtro de artículos

ReferenciaFormaModelo
de forma
Material
del componente
A

A1A2A3A4BB2D1D2D3HF1
N
F2
N
CADAcc.PrecioPedir
27851-25151501A-acero inoxidable521515262648286,66149625425 256.16 MXN
27851-30181801A-acero inoxidable5917,517,529,529,548286,66149700400 259.77 MXN
27851-35202001A-acero inoxidable71202035,535,548286,66149700400 285.66 MXN
27851-40232301A-acero inoxidable7722,522,538,538,548286,66149750450 264.88 MXN
27851-45252501A-acero inoxidable87252543,543,548286,66149750450 267.29 MXN
27851-50282801A-acero inoxidable9727,527,548,548,548286,66149800425 270.90 MXN
27851-60333301A-acero inoxidable11532,532,557,557,548286,66149850175 270.90 MXN

Bisagras de plástico, separables, desmontables, forma B, con perno/ cabeza y ojo de llave

Más información

Planos

Bisagras de plástico, separables, desmontables, forma B, con perno/ cabeza y ojo de llave

Selección/filtro de artículos

ReferenciaFormaModelo
de forma
Material
del componente
A

A1A2A3A4BB2D1D2D3HF1
N
F2
N
CADAcc.PrecioPedir
27851-25151502B-acero inoxidable521515262648286,66149625425 158.93 MXN
27851-30181802B-acero inoxidable5917,517,529,529,548286,66149700400 162.25 MXN
27851-35202002B-acero inoxidable71202035,535,548286,66149700400 188.43 MXN
27851-40232302B-acero inoxidable7722,522,538,538,548286,66149750450 167.66 MXN
27851-45252502B-acero inoxidable87252543,543,548286,66149750450 170.07 MXN
27851-50282802B-acero inoxidable9727,527,548,548,548286,66149800425 173.38 MXN
27851-60333302B-acero inoxidable11532,532,557,557,548286,66149850175 173.38 MXN

Bisagras de plástico, separables, desmontables, forma C, con perno/ cabeza y albura

Más información

Planos

Bisagras de plástico, separables, desmontables, forma C, con perno/ cabeza y albura

Selección/filtro de artículos

ReferenciaFormaModelo
de forma
Material
del componente
A

A1A2A3A4BB2D1D2D3HF1
N
F2
N
CADAcc.PrecioPedir
27851-25151503C-acero inoxidable521515262648286,66149625425 158.93 MXN
27851-30181803C-acero inoxidable5917,517,529,529,548286,66149700400 162.25 MXN
27851-35202003C-acero inoxidable71202035,535,548286,66149700400 188.43 MXN
27851-40232303C-acero inoxidable7722,522,538,538,548286,66149750450 167.66 MXN
27851-45252503C-acero inoxidable87252543,543,548286,66149750450 170.07 MXN
27851-50282803C-acero inoxidable9727,527,548,548,548286,66149800425 173.38 MXN
27851-60333303C-acero inoxidable11532,532,557,557,548286,66149850175 173.38 MXN

Bisagras de plástico, separables, desmontables, forma D, con perno insertable/ fiador abatible

Más información

Planos

Bisagras de plástico, separables, desmontables, forma D, con perno insertable/ fiador abatible

Selección/filtro de artículos

ReferenciaFormaModelo
de forma
Material
del componente
A

A1A2A3A4BB2D1D2D3HF1
N
F2
N
CADAcc.PrecioPedir
27851-25151504D-acero521515262648286,66149625425 516.22 MXN
27851-30181804D-acero5917,517,529,529,548286,66149700400 519.83 MXN
27851-35202004D-acero71202035,535,548286,66149700400 546.32 MXN
27851-40232304D-acero7722,522,538,538,548286,66149750450 525.25 MXN
27851-45252504D-acero87252543,543,548286,66149750450 527.66 MXN
27851-50282804D-acero9727,527,548,548,548286,66149800425 530.96 MXN
27851-60333304D-acero11532,532,557,557,548286,66149850175 530.96 MXN
Mi norelemCorreo electrónicoContraseña
Cesta de la compra
Número de artículos: 0
Total: 0.00  MXN
mostrar
Pedido rápido / Comprobar disponibilidadPedir el artículo directamente o comprobar la disponibilidad.Mostrar
México
Mapa web Imprimir Recomendar Top
Copyright © 2025 norelem S.de RL. de. C.V. Todos los derechos reservados. Teléfono: +52 444 454 36 – 50